jc聚彩

扩散式旋风除尘器-CLK扩散式旋风除尘器、XZZ型旋风除尘器-宏大除尘设备

||资讯| 网站地图
宏大除尘设备,除尘器,除尘配件
热门点击: 布袋除尘器|气箱除尘器|脉冲除尘器|旋风除尘器|单机除尘器|行业除尘器|除尘器配件|除尘布袋|
扩散式旋风除尘器
CLK扩散式旋风除尘器、XZZ型旋风除尘器
宏大除尘CLK扩散式旋风除尘器、XZZ型旋风除尘器性能稳定,除尘效率高。宏大_供应旋风除尘器,厂家_,型号_,价格优惠。
产地:河北省>泊头市
供应商:泊头市宏大除尘设备制造有限公司
技术咨询热线:
13785759289

CLK扩散式旋风除尘器、XZZ型旋风除尘器详细内容介绍information

 CLK扩散式旋风除尘器
 
      CLK扩散式旋风除尘器,适用于捕集干燥的非纤维性的颗粒状粉尘,主要特点是筒身呈倒圆锥形,因而减少了含尘气体自筒身中心短路到出口去的可能性,并装有圆锥形的反射屏,防止两次气流将已经分离下来的粉尘重新卷起,被上升气流带出,因而提高了除尘效率。
适用于冶金、铸造、建材、化工粮食、水泥等行业中,捕集干燥的非纤维性颗粒状粉尘和烟尘除尘,可做回收物料设备使用。
技术性能
型号规格
进口风速(M/S)
处理风量(m2/h)
阻力(Pa)
效率(%)
外型尺寸(mm)
重量(kg)
CLK-ф150
10-20
210-420
100
95
380×1210
33
CLK-ф200
370-735
466×1916
52
CLK-ф250
595-1190
566×2039
75
CLK-ф300
840-1680
631×2447
103
CLK-ф350
1130-2270
716×2866
143
CLK-ф400
1500-3000
808×3277
225
CLK-ф450
1900-3800
893×3695
279
CLK-ф500
2320-4650
983×4106
347
CLK-ф600
3370-6750
1150×4934
612
CLK-ф700
4600-9200
1325×5176
819
CLK扩散式旋风除尘器
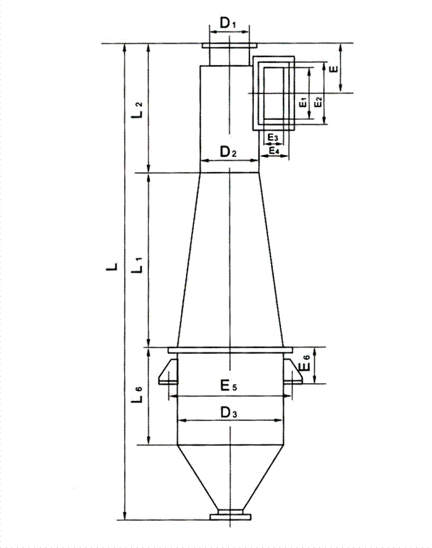
主要尺寸:
CLK扩散式旋风除尘器
 
 

相关产品products list

除尘布袋-布袋除尘器布袋
除尘布袋堪称袋式除尘器的心脏,除尘布袋是袋式除尘器运行过程中的关键部分,通常圆筒型滤袋垂直地悬挂在除尘器中。
DMF-T-62直通式脉冲阀-直通式电磁脉冲阀
宏大生产的DMF-T-62直通式脉冲阀阀其进出口中心为同一直线,其进气口与储气管连接、出气口与喷吹管连接,气流畅通,能提供符合要求的脉冲气流 。DMF-T-62S直通阀的特点:直通式电磁脉冲阀的构造特点是空气进出口中心线在一条直线上,脉冲阀膜片把脉冲阀分为前,直通式脉冲阀后两个气室,接通压缩空气时脉冲阀处于关闭状态,开启动作原理与直角阀相同,只是气流喷射时的流动方向。
DMF-Z-65s电磁脉冲阀-5寸直角型脉冲电磁阀
RMF-Z-65S直角式脉冲阀是2.5寸直角型脉冲电磁阀,进气口和出气口之间的夹角为90度,RMF-Z-65S直角式脉冲阀适合于储气筒和除尘器喷吹管的连接。电压可分为:AC110V/AC220V/DC24V等。
企业简介|工程实例|生产场景|公司业绩|主要客户|联系方式| 网站地图
公司名称:泊头市宏大除尘设备制造有限公司 公司地址:泊头市开发区环城东路南首1号 电话:0317-8392799 8162866 传真:0317-8392977 
手机:18931764475 网址:http://die-youxin.com 
宏大除尘设备 2014(C)版权所有 并对网站所有内容保留解释权  
网站建设:中科四方